| № | Изображение | Артикул товара | Наименование | Наличие | Единица измерения | Количество | Цена | Корзина | |
|---|---|---|---|---|---|---|---|---|---|
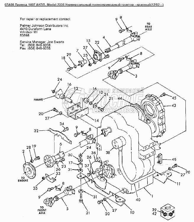
| 1 | 86026261 | Клапан, 1407 КПП | Под заказ | - | |||||
| 2 | 86017552 | 1407 АКПП | Под заказ | - | |||||
| 3 | 86017513 | Фланец DYNAFLEX 600 SER | Под заказ | - | |||||
| 4 | 86017515 | Фланец | Под заказ | - | |||||
| 5 | 86017514 | Фланец DYNAFLEX 400 SER | Под заказ | - | |||||
| 6 | 86027862 | Вал карданный, серия 1610 | Под заказ | - | |||||
| 7 | 86028084 | Карданный вал, серия 1610 | Под заказ | - | |||||
| 8 | 86027858 | Вал карданный, серия 1610 | Под заказ | - | |||||
| 9 | 86029973 | Вал карданный в сборе, длина 840мм, серия 1610 | Под заказ | - | |||||
| 10 | 9706530 | СКОБА | Под заказ | - | |||||
| 11 | V88469 | Кронштейн карданного вала 1610 | Под заказ | - | |||||
| 12 | 86000226 | Болт 0.375NFX0.750 P&O | Под заказ | - | |||||
| 13 | 86030729 | Кронштейн | Под заказ | - | |||||
| 14 | 86030730 | Кронштейн | Под заказ | - | |||||
| 15 | 9704762 | Кольцо | Под заказ | - | |||||
| 16 | 9704764 | Втулка внутр.диам. 25.4мм, длина 43.0, резина | Под заказ | - | |||||
| 17 | 86027871 | Кронштейн, L4WD | Под заказ | - | |||||
| 18 | 86018363 | Уплотнитель, креп. 4 болтами, внутр. O 55,50 | Под заказ | шт | 6 417 ₽6 417 ₽ | ||||
| 19 | 9704761 | Резиновая прокладка крепления трансмиссии | Под заказ | - | |||||
| 20 | V60614 | Изолятор | Под заказ | - | |||||
| 21 | V106543 | Болт Gr-5, 0.625dm-18UNFx1.25dm | Под заказ | - | |||||
| 22 | 280410 | Винт с гексагональной головкой 0.44x1.00 Gr8 Pl | Под заказ | - | |||||
| 23 | 88062 | Болт Gr-5 0.625dm-11x1.50dm | Под заказ | - | |||||
| 24 | 280210 | Болт G5 3/4dm-10x4dm | Под заказ | - | |||||
| 25 | 120091 | Болт M16x2x60 Cl-8.8 | Под заказ | - | |||||
| 26 | 280853 | Болт G8 0.50х1.25 | Под заказ | - | |||||
| 27 | 86534279 | Гайка шестигранная FLG 0.75 10 GR8 PL | Под заказ | - | |||||
| 28 | 86012007 | Контргайка с нейлоновой вставкой M16 CLASS10 P | Под заказ | - | |||||
| 29 | 44183 | Шайба 13.00X24.00X2.5 HDN PL | Под заказ | - | |||||
| 30 | V44253 | Шайба 17.00x30.00x3.00 Hdn Pl, сталь | Под заказ | - | |||||
| 31 | 44183 | Шайба 13.00X24.00X2.5 HDN PL | Под заказ | - | |||||
| 32 | 9671405 | ШАЙБА | Под заказ | - | |||||
| 33 | 86503612 | Шайба 21.00X37.00X3.00 HDN | Под заказ | - | |||||
| 34 | 86050249 | Стальная шайба 0.781 | Под заказ | - | |||||
| 35 | 9706859 | Кольцо уплотнительное | Под заказ | - | |||||
| 36 | 9706860 | Опора карданного вала | Под заказ | - | |||||
| 37 | 86512260 | Болт шестигранный FLG USR M12 X 50 PL | Под заказ | - | |||||
| 38 | 43436 | Гайка M12 Usr Pl | Под заказ | - | |||||
| 39 | 9672899 | Диск тормозной 508x19 | Под заказ | - | |||||
| 40 | 87689 | Болт шестигранный 0.50x1.50GR5 PL | Под заказ | - | |||||
| 41 | 86002135 | Масляный насос КПП | Под заказ | - | |||||
| 42 | 866855 | Комплект уплотнений | Под заказ | - | |||||
| 43 | 86025918 | Всасывающий патрубок, 1407 АКПП | Под заказ | - | |||||
| 44 | 86026773 | Комплект уплотнений | Под заказ | - | |||||
| 45 | 9700053 | Раздаточная коробка 1402 АКПП | Под заказ | - | |||||
| 46 | 9700784 | Уплотнение | Под заказ | - | |||||
| 47 | 274251 | Болт шестигранный FLG USR M10 X 25 PL | В наличии | шт | 426 ₽426 ₽ | ||||
| 48 | 86025937 | Стекло смотровое уровня масла 1407 КПП | Под заказ | - |