Каталог запасных частей к технике: Versatile серии GENESIS. 15D02 Ступеньки кабины

15D02 Ступеньки кабины

zoom-in zoom-out enlarge shrink circle-right circle-left file-text2 info cart
1
1
2
3
3
4
5
6
6
7
7
7
8
8
8
9
10
11
11
11
11
12
13
14
15
16
17
17
18
Изображение Артикул товара Наименование Наличие Единица измерения Количество Цена Корзина
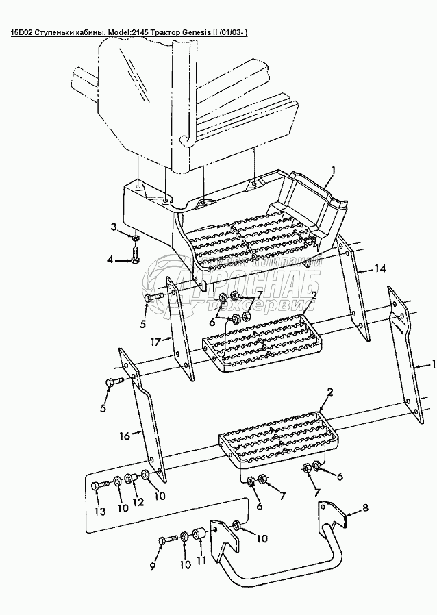
1
86025874 Ступенька левая верхняя Под заказ -
2
86025873 Ступенька правая верхняя Под заказ -
3
9823801 Ступенька нижняя Под заказ -
4
394630 Шайба диам.внутр.12.00 наруж.28.00 толщина 4.00мм, сталь Под заказ -
5
86500278 Болт М12х1.75х45 Под заказ -
6
9706704 Болт M10x1.5x35 Cl 8.8 Под заказ -
7
140045 Шайба стопорная BV M10 PL В наличии шт 46 ₽46 ₽
8
100016 Гайка M10 x 1.5 Под заказ -
9
86507259 Ступенька четвертая Под заказ -
10
120068 Винт с гексагональной головкой M10x40 Cl-8.8 Pl Под заказ -
11
378244 Шайба М10 Под заказ -
12
133095 Кольцо диам.наруж. 15.80 внутр.10.30 толщина 7.90 Под заказ -
13
247006 Втулка Под заказ -
14
120069 Болт M10x1.5x50 Cl-8.8 Под заказ -
15
86506322 Пластина задняя Под заказ -
16
86506324 Пластина Под заказ -
17
86506325 Пластина Под заказ -
18
86506323 Пластина передняя Под заказ -
Содержащиеся в справочниках-каталогах запасные части и детали не предлагаются к продаже, а носят исключительно информационный характер


Наши преимущества