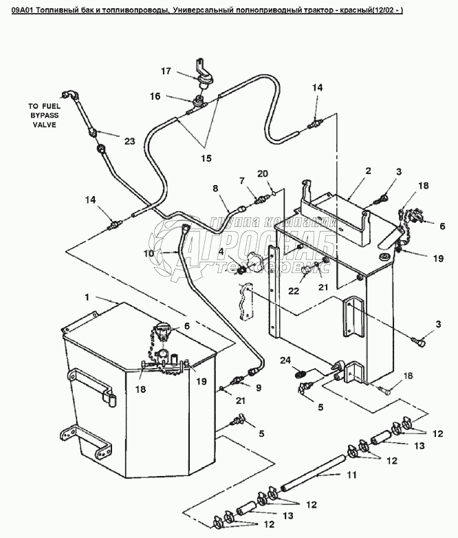
Каталог запасных частей к технике: Versatile серии 2000. 09A01 Топливный бак и топливопроводы

09A01 Топливный бак и топливопроводы

zoom-in zoom-out enlarge shrink circle-right circle-left file-text2 info cart
1
3
2
6
1
3
4
5
4
5
2
6
7
10
8
16
9
15
7
10
11
14
12
13
12
13
11
14
9
15
8
16
17
18
17
18
17
18
19
20
19
20
21
22
21
22
21
22
23
24
23
24
23
24
25
26
25
26
27
28
27
28
29
30
29
30
31
32
31
32
33
36
34
35
34
35
33
36
37
38
37
38
37
38
37
38
37
38
39
40
39
40
39
40
41
42
41
42
41
42
43
44
43
44
45
46
45
46
47
48
47
48
49
50
49
50
49
50
49
50
51
52
51
52
51
52
53
54
53
54
55
56
55
56
55
56
57
58
57
58
59
60
59
60
61
62
61
62
Изображение Артикул товара Наименование Наличие Единица измерения Количество Цена Корзина
1
86027835 Левый топливный бак BVI Под заказ -
2
86031887 Топливный бак, левый Под заказ -
3
86027835 Левый топливный бак BVI Под заказ -
4
86026154 Левый топливный бак Под заказ -
5
86026154 Левый топливный бак Под заказ -
6
86031887 Топливный бак, левый Под заказ -
7
86031888 Бак топливный сварной правый в сборе, L4wd Под заказ -
8
86036644 Топливный бак, правый Под заказ -
9
86035150 Правый топливный бак L4wd Под заказ -
10
86031888 Бак топливный сварной правый в сборе, L4wd Под заказ -
11
86027834 Правый топливный бак BVI Под заказ -
12
86026153 Правый топливный бак Под заказ -
13
86026153 Правый топливный бак Под заказ -
14
86027834 Правый топливный бак BVI Под заказ -
15
86035150 Правый топливный бак L4wd Под заказ -
16
86036644 Топливный бак, правый Под заказ -
17
9804272 Болт M16x2x50 Cl-8.8 Под заказ -
18
9804272 Болт M16x2x50 Cl-8.8 Под заказ -
19
86512498 Гайка шестигранная FLG M16 класс 10 PL Под заказ -
20
86512498 Гайка шестигранная FLG M16 класс 10 PL Под заказ -
21
9671406 Сливной кран 1/4 NPT топливного бака Под заказ -
22
9671406 Сливной кран 1/4 NPT топливного бака Под заказ -
23
86001359 Крышка топливного бака, o 76,0 Под заказ -
24
86001359 Крышка топливного бака, o 76,0 Под заказ -
25
128818 Штуцер 3/4MJICx3/4MORB Под заказ -
26
128818 Штуцер 3/4MJICx3/4MORB Под заказ -
27
86013883 Трубопровод возврата топлива Под заказ -
28
86013883 Трубопровод возврата топлива Под заказ -
29
86071 Штуцер 7/8MJICx3/4MORB Под заказ -
30
86071 Штуцер 7/8MJICx3/4MORB Под заказ -
31
9706445 Патрубок топливовсасывающий L4WD Под заказ -
32
9706445 Патрубок топливовсасывающий L4WD Под заказ -
33
86027836 Уровнительный патрубок, o 46,8, красный Под заказ -
34
86026155 Соединительная трубка Под заказ -
35
86026155 Соединительная трубка Под заказ -
36
86027836 Уровнительный патрубок, o 46,8, красный Под заказ -
37
V17778 Хомут 2.75dm Под заказ -
38
V17778 Хомут 2.75dm Под заказ -
39
9672328 Рукав 2 X 8.0 100R4 Под заказ -
40
9672328 Рукав 2 X 8.0 100R4 Под заказ -
41
86001133 Фитинг 1/2 X 1/2NPT Под заказ -
42
86001133 Фитинг 1/2 X 1/2NPT Под заказ -
43
86050293 Шланг, внутр. O 1/2dm, 1270 Под заказ -
44
86050293 Шланг, внутр. O 1/2dm, 1270 Под заказ -
45
9707645 Тройник 1/2 x 1/2npt Под заказ -
46
9707645 Тройник 1/2 x 1/2npt Под заказ -
47
9704438 Клапан Под заказ -
48
9704438 Клапан Под заказ -
49
9804255 Болт M6x16 Cl-8.8 Pl Под заказ -
50
9804255 Болт M6x16 Cl-8.8 Pl Под заказ -
51
86514335 Контргайка с нейлоновой вставкой M6 класс 10 PL Под заказ -
52
86514335 Контргайка с нейлоновой вставкой M6 класс 10 PL Под заказ -
53
128825 Кольцо уплотнительное 0.644 IDX0.087 THK BUNA Под заказ -
54
128825 Кольцо уплотнительное 0.644 IDX0.087 THK BUNA Под заказ -
55
167269 Кольцо уплотнительное вн. O 0.8xтолщина 0.09 N Под заказ -
56
167269 Кольцо уплотнительное вн. O 0.8xтолщина 0.09 N Под заказ -
57
214389 Пробка 7/8, 3/4dm 16unf-2A Под заказ -
58
214389 Пробка 7/8, 3/4dm 16unf-2A Под заказ -
59
86030078 Шланг 1/2 X 2400 100R1 Под заказ -
60
86030078 Шланг 1/2 X 2400 100R1 Под заказ -
61
129912 Пробка 1/4-18 Под заказ -
62
129912 Пробка 1/4-18 Под заказ -
Содержащиеся в справочниках-каталогах запасные части и детали не предлагаются к продаже, а носят исключительно информационный характер


Наши преимущества