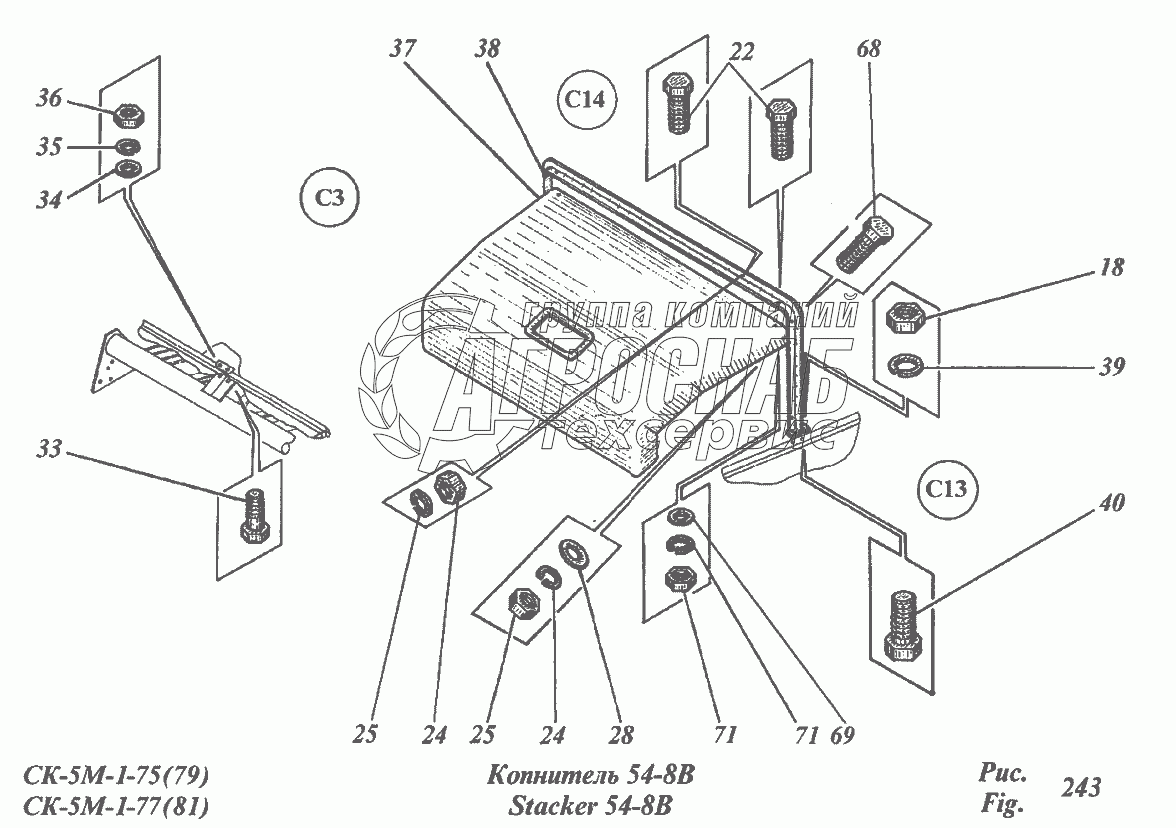
Каталог запасных частей к технике: РСМ CK-5М-1 «Нива». Копнитель 54-8В

Копнитель 54-8В

zoom-in zoom-out enlarge shrink circle-right circle-left file-text2 info cart
1
2
3
3
4
4
5
6
7
8
9
10
11
12
13
14
15
16
16
Изображение Артикул товара Наименование Наличие Единица измерения Количество Цена Корзина
1
М10-6Н.6.019 Гайка Под заказ -
2
М8-6gх20.88.35.019 Болт Под заказ -
3
8Т.65Г.019 Шайба Под заказ -
4
М8-6Н.6.019 Гайка В наличии шт 1 ₽1 ₽
5
С8х1,4.01.019 Шайба Под заказ -
6
М12-6gх30.88.35.019 Болт Под заказ -
7
С12х2,0.01.019 Шайба Под заказ -
8
12Т.65Г.019 Шайба Под заказ -
9
М12-6Н.6.019 Гайка Под заказ -
10
54-8-40-1 Капот Под заказ -
11
54-8-22Б Пояс Под заказ -
12
10Т.65Г.019 Шайба Под заказ -
13
М10-6gх25.88.35.019 Болт Под заказ -
14
7798 М6-6gх1,6.48.019 Болт Под заказ -
15
11371 С6х1,4.01.019 Шайба Под заказ -
16
5915 М6-6Н.6.019 Гайка Под заказ -
Содержащиеся в справочниках-каталогах запасные части и детали не предлагаются к продаже, а носят исключительно информационный характер


Наши преимущества