Каталог запасных частей к технике: МТЗ-2522. Тяга

Тяга

zoom-in zoom-out enlarge shrink circle-right circle-left file-text2 info cart
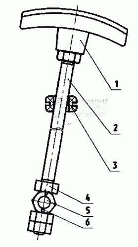
1
2
3
4
5
6
7
Изображение Артикул товара Наименование Наличие Единица измерения Количество Цена Корзина
1
50-1310136-А-01 Рукоятка Под заказ -
2
2822-4218115 Тяга Под заказ -
3
2822-4218119 Тяга Под заказ -
4
36-3723024-Б Втулка Под заказ -
5
М8-6Н.6.019 Гайка В наличии шт 1 ₽1 ₽
6
70-1108317 Бонка Под заказ -
7
1,6x12.019 Шплинт Под заказ -
Содержащиеся в справочниках-каталогах запасные части и детали не предлагаются к продаже, а носят исключительно информационный характер


Наши преимущества