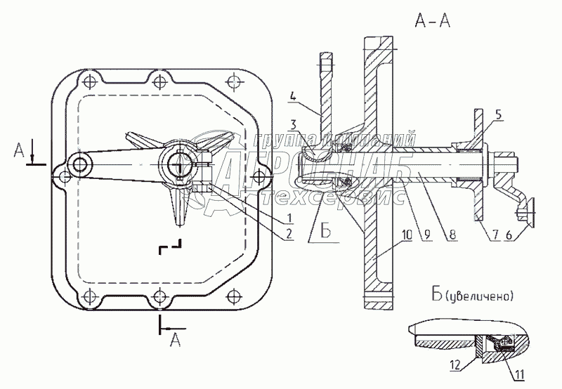
Каталог запасных частей к технике: МТЗ-2522. Крышка

Крышка

zoom-in zoom-out enlarge shrink circle-right circle-left file-text2 info cart
1
2
3
4
5
6
7
8
9
10
11
12
13
Изображение Артикул товара Наименование Наличие Единица измерения Количество Цена Корзина
1
3022-1702040 Крышка Под заказ -
2
12ОТ Шайба ОСТ 37.001.115-75 Под заказ -
3
M12-6gx35.88.35.019 Болт Под заказ -
4
6x10 Шпонка Под заказ -
5
2522-1702051 Рычаг Под заказ -
6
943/25 Подшипник Под заказ -
7
3022-1702047 Сухарь Под заказ -
8
3022-1702053 Коромысло Под заказ -
9
3022-1702050 Валик Под заказ -
10
3022-1702052 Втулка Под заказ -
11
3022-1702045 Крышка Под заказ -
12
2,2-25x42-1 Манжета Под заказ -
13
50-3503071 Шайба Под заказ -
Содержащиеся в справочниках-каталогах запасные части и детали не предлагаются к продаже, а носят исключительно информационный характер


Наши преимущества