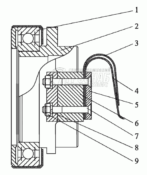
Каталог запасных частей к технике: МТЗ-2103. Отводка

Отводка

zoom-in zoom-out enlarge shrink circle-right circle-left file-text2 info cart
1
2
3
4
5
6
7
8
9
10
Изображение Артикул товара Наименование Наличие Единица измерения Количество Цена Корзина
1
2103-1600180 Отвод Под заказ -
2
2522-1601190-А Подшипник Под заказ -
3
2522-1601185 Отводка Под заказ -
4
2522-1601191 Пластина Под заказ -
5
2522-1601188 Пружина Под заказ -
6
2522-1601187 Пластина опорная Под заказ -
7
2103-1600193 Пластина Под заказ -
8
B.M6-6gx40.58.019 Винт Под заказ -
9
4598166045 Шайба 6Т Под заказ -
10
М6-6Н.6.019 Гайка Под заказ -
Содержащиеся в справочниках-каталогах запасные части и детали не предлагаются к продаже, а носят исключительно информационный характер


Наши преимущества