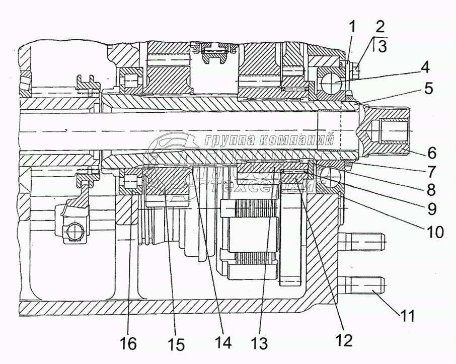
Каталог запасных частей к технике: МТЗ-2022. Вал блока шестерен

Вал блока шестерен

zoom-in zoom-out enlarge shrink circle-right circle-left file-text2 info cart
1
2
3
4
5
6
7
8
9
10
11
12
13
14
15
16
Изображение Артикул товара Наименование Наличие Единица измерения Количество Цена Корзина
1
80-1701205 Планка Под заказ -
2
М10x30 Болт Под заказ -
3
ШП10 Шайба Под заказ -
4
50312А Подшипник Под заказ -
5
2022-1701240 Вал Под заказ -
6
2022-1701160 Вал Под заказ -
7
2823-1701049 Гайка Под заказ -
8
2022-1701226 Шайба Под заказ -
9
К80х88х30Е Подшипник Под заказ -
10
80-1701206 Кольцо Под заказ -
11
1522-1701525 Шпилька Под заказ -
12
2022-1701202 Шестерня Под заказ -
13
2022-1701224 Шестерня Под заказ -
14
2С75 Кольцо Под заказ -
15
2022-1701221 Шестерня Под заказ -
16
692215К1М Подшипник Под заказ -
Содержащиеся в справочниках-каталогах запасные части и детали не предлагаются к продаже, а носят исключительно информационный характер


Наши преимущества