Каталог запасных частей к технике: МТЗ-2022. Кран 2822-1602100-03

Кран 2822-1602100-03

zoom-in zoom-out enlarge shrink circle-right circle-left file-text2 info cart
1
2
3
4
5
6
7
7
8
9
10
11
12
13
14
Изображение Артикул товара Наименование Наличие Единица измерения Количество Цена Корзина
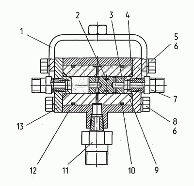
1
2822-1602100-03 Кран Под заказ -
2
2822-1602110 Кронштейн Под заказ -
3
008-012-25-2-6 Кольцо Под заказ -
4
2822-1602104 Поршень Под заказ -
5
012-016-25-2-6 Кольцо Под заказ -
6
М6х25 Винт Под заказ -
7
Шайба Под заказ -
8
80-1701549 Штуцер Под заказ -
9
М6х20 Винт Под заказ -
10
2822-1602102 Корпус Под заказ -
11
025-028-19-2-6 Кольцо Под заказ -
12
822-3503155 Штуцер Под заказ -
13
2822-1602101 Корпус Под заказ -
14
2822-1602103 Крышка Под заказ -
Содержащиеся в справочниках-каталогах запасные части и детали не предлагаются к продаже, а носят исключительно информационный характер


Наши преимущества