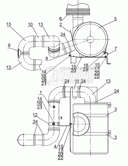
Каталог запасных частей к технике: МТЗ-1523.4. Установка воздухоочистителя

Установка воздухоочистителя

zoom-in zoom-out enlarge shrink circle-right circle-left file-text2 info cart
1
2
3
4
4
5
6
7
8
9
10
11
12
13
14
14
14
14
15
15
16
16
16
17
17
18
18
19
20
21
21
21
22
22
23
23
24
25
25
25
25
25
Изображение Артикул товара Наименование Наличие Единица измерения Количество Цена Корзина
1
1523.4-1109125 Установка воздухоочистителя Под заказ -
2
1523.4-1109025 Воздухопровод Под заказ -
3
1523.4-1109110 Опора Под заказ -
4
1522-1109025 Хомут Под заказ -
5
1121В-1109010 Кронштейн Под заказ -
6
260-1109015-02 Воздухоочиститель Под заказ -
7
А53.21.000-02 Моноциклон Под заказ шт 170 ₽170 ₽
8
1523.4-1109022 Кронштейн Под заказ -
9
1523.4-1109023 Кронштейн Под заказ -
10
1523.4-1109024 Труба Под заказ -
11
1523.4-1109024-01 Труба Под заказ -
12
1523.4-1109024-02 Труба Под заказ -
13
1221 В-1109008 Скоба Под заказ -
14
260-1109009-А Патрубок Под заказ -
15
M6-6gx20.88.35.019 Болт Под заказ -
16
M8-6gx20.88.35.019 Болт Под заказ -
17
М6-6Н.6.019 Гайка Под заказ -
18
М8-6Н.6.019 Гайка В наличии шт 1 ₽1 ₽
19
М10-6Н.6.019 Гайка Под заказ -
20
С6.01.019 Шайба Под заказ -
21
С8.01.019 Шайба Под заказ -
22
Шайба Под заказ -
23
Шайба Под заказ -
24
10 ОТ Шайба Под заказ -
25
TORRO90-110/9-C6W Хомут Под заказ -
Содержащиеся в справочниках-каталогах запасные части и детали не предлагаются к продаже, а носят исключительно информационный характер


Наши преимущества