Каталог запасных частей к технике: МТЗ-1523.4. Цилиндр рабочий

Цилиндр рабочий

zoom-in zoom-out enlarge shrink circle-right circle-left file-text2 info cart
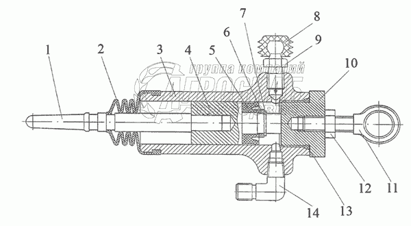
1
2
3
4
5
6
7
8
9
10
11
12
13
14
15
Изображение Артикул товара Наименование Наличие Единица измерения Количество Цена Корзина
1
1523-1602550 Цилиндр рабочий Под заказ -
2
80В-1602557 Шток Под заказ -
3
142-1602569 Чехол Под заказ -
4
1221В-1602551 Корпус Под заказ -
5
1221В-1602556 Поршень Под заказ -
6
N14-102 (14x28x10) Манжета N14-102 (14x28x10) Под заказ -
7
1221В-1602517-Б Втулка распорная Под заказ -
8
С13 Кольцо Под заказ -
9
142-1602377 Колпачок Под заказ -
10
142-1602371 Клапан перепускной Под заказ -
11
1221В-1602561 Крышка Под заказ -
12
1523-1602566 Опора Под заказ -
13
М10-6Н.6.019 Гайка Под заказ -
14
027-031 -25-2-6 Кольцо Под заказ -
15
822-3503037 Угольник ввертной Под заказ -
Содержащиеся в справочниках-каталогах запасные части и детали не предлагаются к продаже, а носят исключительно информационный характер


Наши преимущества