Каталог запасных частей к технике: МТЗ-1025.4. Кран тормозной

Кран тормозной

zoom-in zoom-out enlarge shrink circle-right circle-left file-text2 info cart
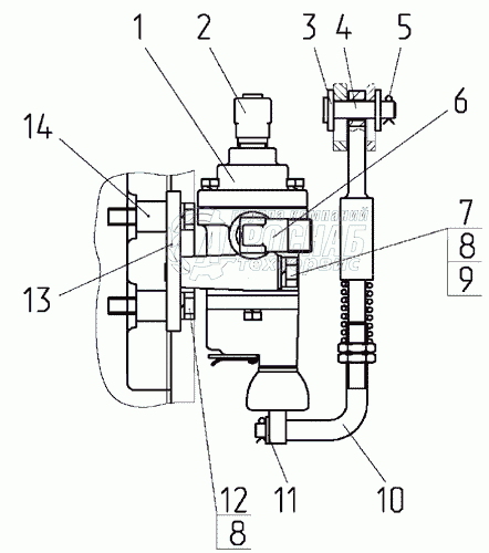
1
2
3
4
5
6
7
8
9
10
10
11
12
13
14
15
16
Изображение Артикул товара Наименование Наличие Единица измерения Количество Цена Корзина
1
85М-3514010-02 Кран тормозной Под заказ -
2
А29.351.4010-02 Кран тормозной Под заказ -
3
80-3514010-02 Кран тормозной Под заказ -
4
70-3506033 Угольник Под заказ -
5
С 12.01.019 Шайба Под заказ -
6
12x40 Палец Под заказ -
7
3,2x18.019 Шплинт Под заказ -
8
1522-3514033 Угольник Под заказ -
9
M10-6gx70.88.35.019 Болт Под заказ -
10
10 ОТ Шайба Под заказ -
11
С 10.01.019 Шайба Под заказ -
12
80-3514130 Тяга Под заказ -
13
С 8.01.019 Шайба Под заказ -
14
M10-6gx45.88.35.019 Болт Под заказ -
15
85М-3514011 Кронштейн Под заказ -
16
85-3514012 Бобышка Под заказ -
Содержащиеся в справочниках-каталогах запасные части и детали не предлагаются к продаже, а носят исключительно информационный характер


Наши преимущества