Каталог запасных частей к технике: МТЗ 892. Управление синхронизированным реверс-редуктором

Управление синхронизированным реверс-редуктором

zoom-in zoom-out enlarge shrink circle-right circle-left file-text2 info cart
1
2
2
3
4
5
5
6
6
7
8
9
9
10
11
11
12
13
14
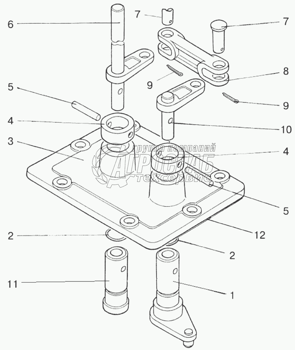
Изображение Артикул товара Наименование Наличие Единица измерения Количество Цена Корзина
1
74-1723140 Рычаг Под заказ -
2
020-025-30-1-4 Кольцо Под заказ -
3
Р70-1723010 Крышка Под заказ -
4
Р70-1723015 Крышка Под заказ -
5
70-1723032 Втулка Под заказ -
6
70-1723012 Штифт 6х36.88.016 Под заказ -
7
Р70-1723065 Рычаг Под заказ -
8
Р70-1723030 Рычаг Под заказ -
9
10х28 Палец Под заказ -
10
Р70-1723013 Планка Под заказ -
11
3,2х18.019 Шплинт Под заказ -
12
Р70-1723020 Ось Под заказ -
13
Р70-1723011 Ось рычага Под заказ -
14
50-1601347 Прокладка Под заказ -
Содержащиеся в справочниках-каталогах запасные части и детали не предлагаются к продаже, а носят исключительно информационный характер


Наши преимущества