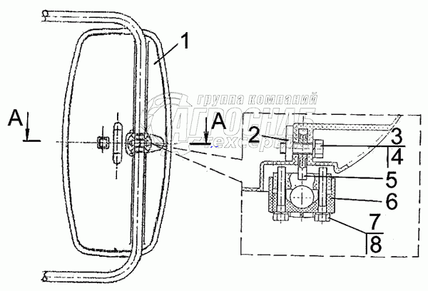
Каталог запасных частей к технике: МТЗ 3022ДЦ.1. Зеркало наружное

Зеркало наружное

zoom-in zoom-out enlarge shrink circle-right circle-left file-text2 info cart
1
2
3
4
5
6
7
8
Изображение Артикул товара Наименование Наличие Единица измерения Количество Цена Корзина
1
САКД458201.050 Зеркало наружное Под заказ -
2
САКД458201.075 Пластина Под заказ -
3
М8х35 Болт Под заказ -
4
ШП8 Шайба Под заказ -
5
САКД458201.062 Кронштейн Под заказ -
6
САКД458201.064 Втулка Под заказ -
7
М6х40 Болт Под заказ -
8
ШП6 Шайба Под заказ -
Содержащиеся в справочниках-каталогах запасные части и детали не предлагаются к продаже, а носят исключительно информационный характер


Наши преимущества