Каталог запасных частей к технике: МТЗ 1220. Вал карданный

Вал карданный

zoom-in zoom-out enlarge shrink circle-right circle-left file-text2 info cart
3
4
5
5
6
7
8
9
10
11
12
13
14
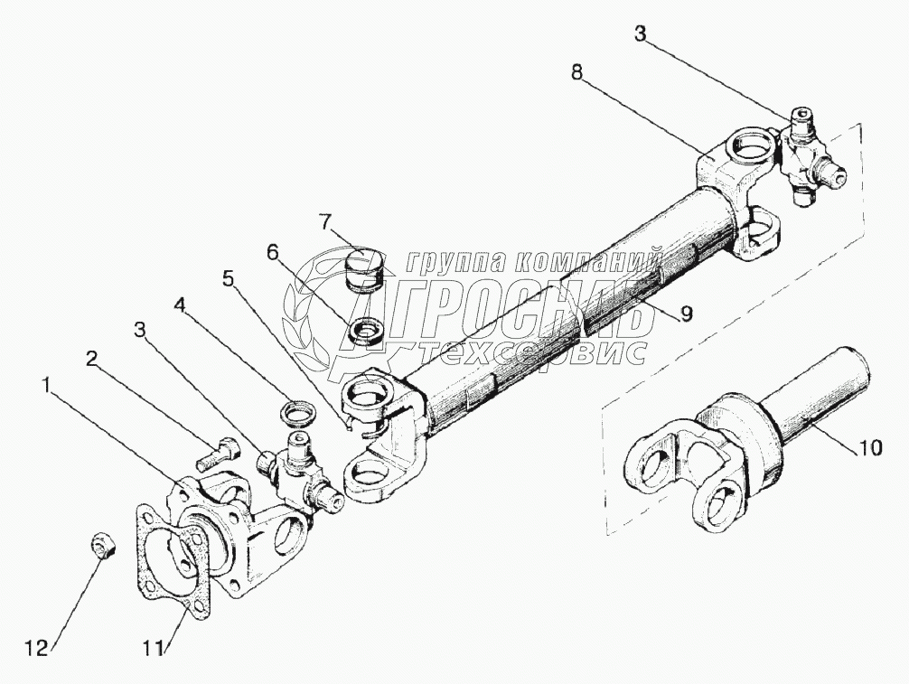
Изображение Артикул товара Наименование Наличие Единица измерения Количество Цена Корзина
1
86-2203010-Б Вал карданный Под заказ шт 4 572 ₽4 572 ₽
2
72-2203025PH Крестовина с подшипниками Под заказ -
3
72-2201023 Фланец Под заказ -
4
52-2203012 Болт М10х1 Под заказ -
5
72-2203030-01 Крестовина Под заказ -
6
3102-2201037 Отражатель Под заказ -
7
34-2201043 Кольцо стопорное Под заказ -
8
69-2201031-A Манжета Под заказ -
9
704702К3С10 Подшипник Под заказ -
10
72-2203022 Вилка Под заказ -
11
86-2203018-02 Труба Под заказ -
12
86-2203047 Вилка скользящая Под заказ -
13
20-2201024 Прокладка Под заказ -
14
М10х1-8 Гайка Под заказ -
Содержащиеся в справочниках-каталогах запасные части и детали не предлагаются к продаже, а носят исключительно информационный характер


Наши преимущества