Каталог запасных частей к технике: МТЗ 1220. Головка соединительная (для двухпроводного пневмопривода)

Головка соединительная (для двухпроводного пневмопривода)

zoom-in zoom-out enlarge shrink circle-right circle-left file-text2 info cart
2
3
4
5
6
7
Изображение Артикул товара Наименование Наличие Единица измерения Количество Цена Корзина
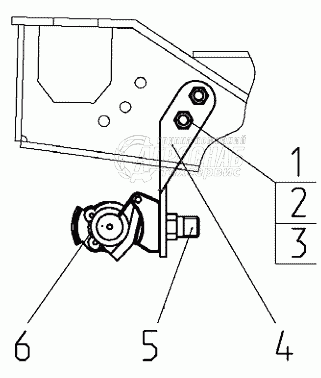
1
1025-3521505 Головка соединительная Под заказ -
2
М10-6gx25.88.35.019 Болт Под заказ -
3
М10-6Н.6.019 Гайка Под заказ -
4
Шайба10.ОТ Шайба Под заказ -
5
1025-3521511 Кронштейн Под заказ -
6
1522-3521513 Штуцер Под заказ -
7
64226-3521110 Головка соединительная Под заказ -
Содержащиеся в справочниках-каталогах запасные части и детали не предлагаются к продаже, а носят исключительно информационный характер


Наши преимущества