Каталог запасных частей к технике: МТЗ 1025/1025.2/1025.3. Установка фонарей передних

Установка фонарей передних

zoom-in zoom-out enlarge shrink circle-right circle-left file-text2 info cart
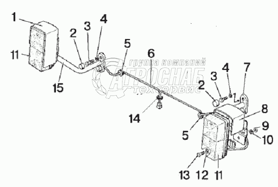
1
2
2
3
3
4
4
5
5
6
7
8
9
10
11
11
12
13
14
15
Изображение Артикул товара Наименование Наличие Единица измерения Количество Цена Корзина
1
85-3712045 Кожух правый Под заказ -
2
А30.04.017-01 Колпачок Под заказ -
3
БолтМ8-6gx20.88.35.019 Болт Под заказ -
4
Шайба8Т Шайба 8Т Под заказ -
5
70-3723042-01 Втулка Под заказ -
6
Н80-3724131 Жгут Под заказ -
7
Н80-3712040 Кронштейн Под заказ -
8
85-3712045-01 Кожух левый Под заказ -
9
ГайкаМ6-6Н.6.019 Гайка Под заказ -
10
Шайба6Т Шайба Под заказ -
11
3712.10 Фонарь передний с боковым повторителем Под заказ -
12
ШайбаС6.01.019 Шайба Под заказ -
13
ВинтВ.М6-6gx18.58.019 Винт Под заказ -
14
70-3723042-02 Втулка Под заказ -
15
80-3723040 Кронштейн Под заказ -
Содержащиеся в справочниках-каталогах запасные части и детали не предлагаются к продаже, а носят исключительно информационный характер


Наши преимущества