Каталог запасных частей к технике: Lemken Solitair 9/500KA. Swinging arm

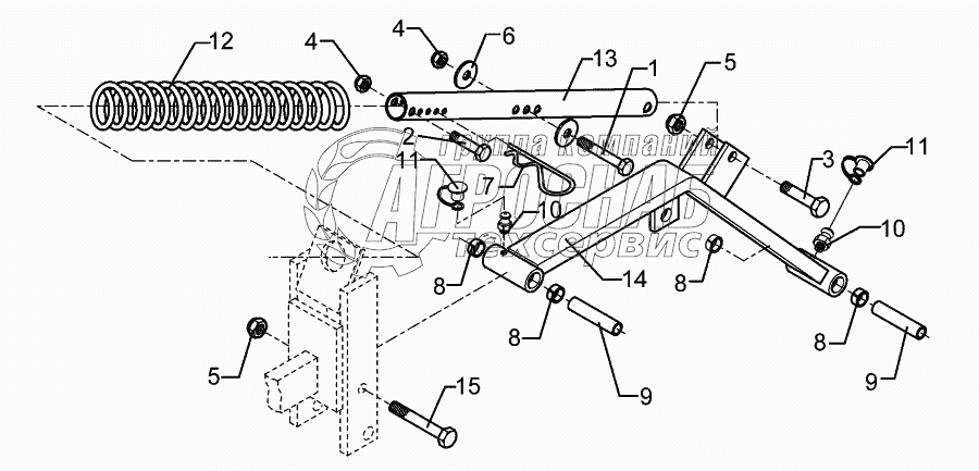
Swinging arm

zoom-in zoom-out enlarge shrink circle-right circle-left file-text2 info cart
1
2
3
3
4
4
5
5
5
5
6
6
7
Изображение Артикул товара Наименование Наличие Единица измерения Количество Цена Корзина
1
301 5424 Bolt Под заказ -
2
301 5452 Bolt Под заказ -
3
303 0933 Selflocking nut Под заказ -
4
303 0934 Selflocking nut Под заказ -
5
317 3299 Bush Под заказ -
6
323 6345 Grease nipple Под заказ -
7
301 3470 Bolt Под заказ -
Содержащиеся в справочниках-каталогах запасные части и детали не предлагаются к продаже, а носят исключительно информационный характер


Наши преимущества