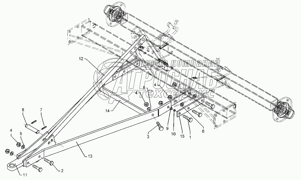
Каталог запасных частей к технике: Lemken Solitair 9/500KA. Deichsel Fur Fahrwerk Solitair

Deichsel Fur Fahrwerk Solitair

zoom-in zoom-out enlarge shrink circle-right circle-left file-text2 info cart
1
2
2
2
3
3
4
5
6
7
Изображение Артикул товара Наименование Наличие Единица измерения Количество Цена Корзина
1
301 4601 Bolt Под заказ -
2
303 0936 Selflocking nut Под заказ -
3
305 6164 Washer Под заказ -
4
305 6268 Washer Под заказ -
5
309 7000 Expansion bush Под заказ -
6
313 7812 Top link pin Под заказ -
7
317 6657 Bush Под заказ -
Содержащиеся в справочниках-каталогах запасные части и детали не предлагаются к продаже, а носят исключительно информационный характер


Наши преимущества