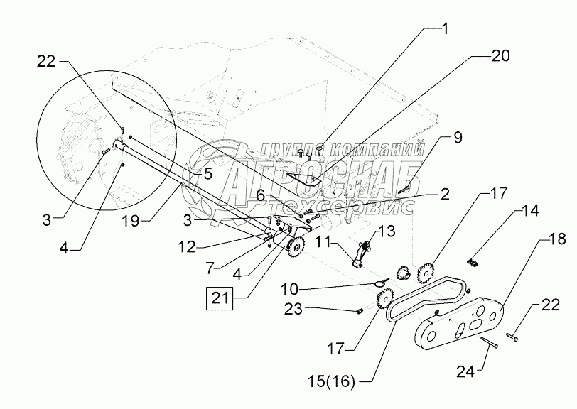
Каталог запасных частей к технике: Lemken Solitair 8/300. 681 4711 Drive parts

681 4711 Drive parts

zoom-in zoom-out enlarge shrink circle-right circle-left file-text2 info cart
1
2
2
3
3
4
5
6
7
8
Изображение Артикул товара Наименование Наличие Единица измерения Количество Цена Корзина
1
301 1103 Bolt, cup square head Под заказ -
2
301 3067 Bolt Под заказ -
3
303 0931 Selflocking nut Под заказ -
4
303 0932 Selflocking nut Под заказ -
5
311 9330 Securing pin Под заказ -
6
331 9068 Chain Под заказ -
7
481 4218 Shaft Под заказ -
8
581 1591 Bearing block Под заказ -
Содержащиеся в справочниках-каталогах запасные части и детали не предлагаются к продаже, а носят исключительно информационный характер


Наши преимущества