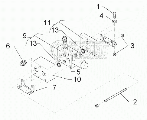
Каталог запасных частей к технике: Lemken Solitair 8/300. 675 8024 Control valve

675 8024 Control valve

zoom-in zoom-out enlarge shrink circle-right circle-left file-text2 info cart
1
2
3
Изображение Артикул товара Наименование Наличие Единица измерения Количество Цена Корзина
1
303 0931 Selflocking nut Под заказ -
2
305 8571 Washer Под заказ -
3
375 4020 Nipple Под заказ -
Содержащиеся в справочниках-каталогах запасные части и детали не предлагаются к продаже, а носят исключительно информационный характер


Наши преимущества