Каталог запасных частей к технике: Lemken Solitair 8/300. 629 4418 Stand

629 4418 Stand

zoom-in zoom-out enlarge shrink circle-right circle-left file-text2 info cart
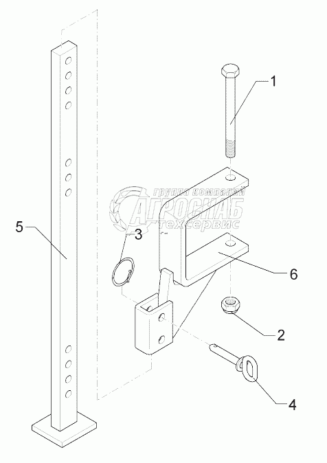
1
2
3
4
5
Изображение Артикул товара Наименование Наличие Единица измерения Количество Цена Корзина
1
301 5410 Bolt Под заказ -
2
303 0935 Selflocking nut Под заказ -
3
305 8551 Securing clip Под заказ -
4
313 7807 Pin with grip Под заказ -
5
429 4413 Stand Под заказ -
Содержащиеся в справочниках-каталогах запасные части и детали не предлагаются к продаже, а носят исключительно информационный характер


Наши преимущества