Каталог запасных частей к технике: Lemken Solitair 8/300. 557 2652 Holder

557 2652 Holder

zoom-in zoom-out enlarge shrink circle-right circle-left file-text2 info cart
1
2
3
4
5
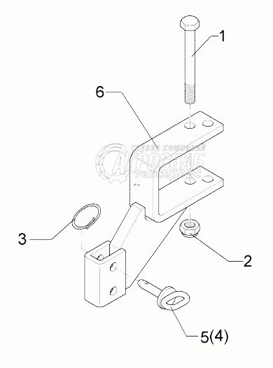
Изображение Артикул товара Наименование Наличие Единица измерения Количество Цена Корзина
1
303 0934 Selflocking nut Под заказ -
2
305 8551 Securing clip Под заказ -
3
313 7807 Pin with grip Под заказ -
4
313 8642 Pin with grip Под заказ -
5
457 2651 Holder Под заказ -
Содержащиеся в справочниках-каталогах запасные части и детали не предлагаются к продаже, а носят исключительно информационный характер


Наши преимущества