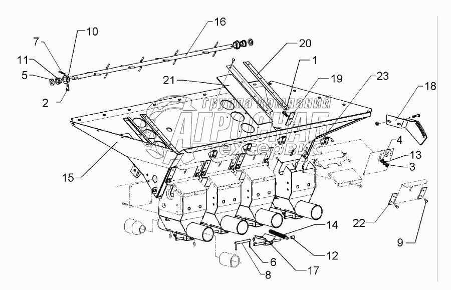
Каталог запасных частей к технике: Lemken Solitair 12/1200K. Dosage 4-A C

Dosage 4-A C

zoom-in zoom-out enlarge shrink circle-right circle-left file-text2 info cart
1
2
3
Изображение Артикул товара Наименование Наличие Единица измерения Количество Цена Корзина
1
303 0932 Selflocking nut Под заказ -
2
305 6124 Washer Под заказ -
3
305 6143 Washer Под заказ -
Содержащиеся в справочниках-каталогах запасные части и детали не предлагаются к продаже, а носят исключительно информационный характер


Наши преимущества