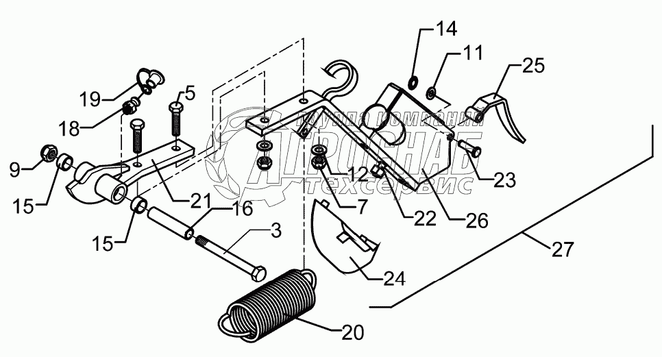
Каталог запасных частей к технике: Lemken Saphir 7/300. Suffolk coulter Saphir 7

Suffolk coulter Saphir 7

zoom-in zoom-out enlarge shrink circle-right circle-left file-text2 info cart
1
2
3
4
5
5
6
7
8
9
10
11
12
13
Изображение Артикул товара Наименование Наличие Единица измерения Количество Цена Корзина
1
301 3470 Bolt Под заказ -
2
303 0933 Selflocking nut Под заказ -
3
303 0934 Selflocking nut Под заказ -
4
305 8694 Washer Под заказ -
5
317 3299 Bush Под заказ -
6
323 6345 Grease nipple Под заказ -
7
329 8516 Spring Под заказ -
8
301 5809 Allen screw Под заказ -
9
315 8025 Rivet Под заказ -
10
337 8099 Point Под заказ -
11
481 8527 Flap Под заказ -
12
482 6042 Suffolk coulter Под заказ -
13
582 6042 Suffolk coulter Под заказ -
Содержащиеся в справочниках-каталогах запасные части и детали не предлагаются к продаже, а носят исключительно информационный характер


Наши преимущества