Каталог запасных частей к технике: Lemken Saphir 7/300. Monitor LH1600

Monitor LH1600

zoom-in zoom-out enlarge shrink circle-right circle-left file-text2 info cart
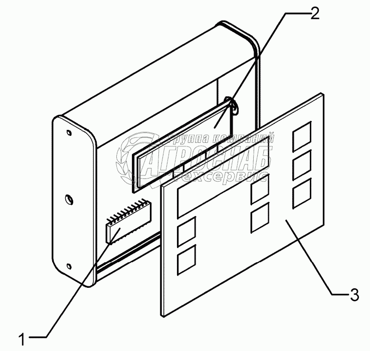
1
2
3
Изображение Артикул товара Наименование Наличие Единица измерения Количество Цена Корзина
1
573 4852 EPROM Под заказ -
2
573 4903 Display Под заказ -
3
573 5013 Keyboard Под заказ -
Содержащиеся в справочниках-каталогах запасные части и детали не предлагаются к продаже, а носят исключительно информационный характер


Наши преимущества