Каталог запасных частей к технике: Lemken Saphir 7/300. Monitor LH1600

Monitor LH1600

zoom-in zoom-out enlarge shrink circle-right circle-left file-text2 info cart
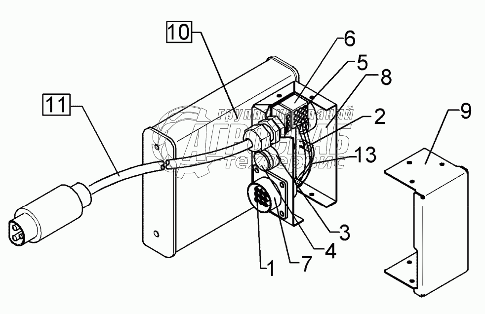
1
2
3
4
5
6
7
8
9
10
11
Изображение Артикул товара Наименование Наличие Единица измерения Количество Цена Корзина
1
373 0301 Bush contact Под заказ -
2
373 1290 Protection diode Под заказ -
3
373 1361 Protection cap Под заказ -
4
373 2110 Soldering pin Под заказ -
5
373 2154 Plug for LH 1600 Под заказ -
6
373 2155 Bush Под заказ -
7
473 8052 Box for monitor Под заказ -
8
473 8053 Cover Под заказ -
9
573 5010 Monitor Под заказ -
10
573 4426 Cable G tractor connection Под заказ -
11
573 4445 Cable-adapter Под заказ -
Содержащиеся в справочниках-каталогах запасные части и детали не предлагаются к продаже, а носят исключительно информационный характер


Наши преимущества