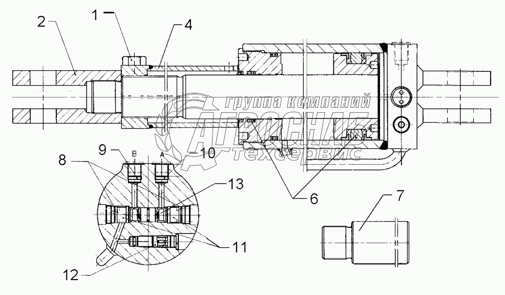
Каталог запасных частей к технике: Lemken Juwel 8M. 5752421 Swing-in ram

5752421 Swing-in ram

zoom-in zoom-out enlarge shrink circle-right circle-left file-text2 info cart
1
Изображение Артикул товара Наименование Наличие Единица измерения Количество Цена Корзина
1
301 3884 Bolt Под заказ -
Содержащиеся в справочниках-каталогах запасные части и детали не предлагаются к продаже, а носят исключительно информационный характер


Наши преимущества