Каталог запасных частей к технике: Lemken Achat 9/600 KA. Stand 70x22/110x110x600

Stand 70x22/110x110x600

zoom-in zoom-out enlarge shrink circle-right circle-left file-text2 info cart
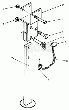
1
2
3
4
5
6
7
8
9
10
Изображение Артикул товара Наименование Наличие Единица измерения Количество Цена Корзина
1
301 3550 Bolt Под заказ -
2
301 3870 Bolt Под заказ -
3
303 0934 Selflocking nut Под заказ -
4
303 0935 Selflocking nut Под заказ -
5
305 8551 Securing clip Под заказ -
6
311 9565 Securing pin Под заказ -
7
313 8140 Pin with grip Под заказ -
8
331 6130 Chain Под заказ -
9
429 2800 Stand Под заказ -
10
429 2806 Holder for stand Под заказ -
Содержащиеся в справочниках-каталогах запасные части и детали не предлагаются к продаже, а носят исключительно информационный характер


Наши преимущества