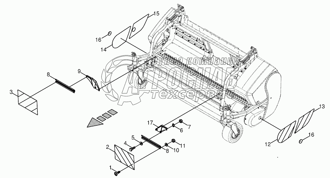
Каталог запасных частей к технике: KRONE EasyFlow 300, 380. Warning panel

Warning panel

zoom-in zoom-out enlarge shrink circle-right circle-left file-text2 info cart
1
2
3
4
5
6
7
7
Изображение Артикул товара Наименование Наличие Единица измерения Количество Цена Корзина
1
009047690 Fillister head screw Под заказ -
2
009006070 Hex head bolt Под заказ -
3
009099061 Detent edged washer Под заказ -
4
009087041 Locknut Под заказ -
5
009105001 Washer Под заказ -
6
009087020 Locknut Под заказ -
7
009246340 Side light-yellow-self- adhesive Под заказ -
Содержащиеся в справочниках-каталогах запасные части и детали не предлагаются к продаже, а носят исключительно информационный характер


Наши преимущества