Каталог запасных частей к технике: KRONE BIG-X-650. CAN - printer

CAN - printer

zoom-in zoom-out enlarge shrink circle-right circle-left file-text2 info cart
1
2
3
4
5
6
Изображение Артикул товара Наименование Наличие Единица измерения Количество Цена Корзина
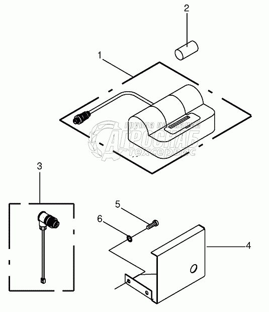
1
003050480 CAN- printer Под заказ -
2
003050490 Paper roll Под заказ -
3
003050510 Connecting cable Под заказ -
4
002207150 Support Под заказ -
5
009030731 Allen screw Под заказ -
6
009099030 Detent edged washer Под заказ -
Содержащиеся в справочниках-каталогах запасные части и детали не предлагаются к продаже, а носят исключительно информационный характер


Наши преимущества