Каталог запасных частей к технике: Красная Звезда СУПН-12А. Пульт 152.390.077-01

Пульт 152.390.077-01

zoom-in zoom-out enlarge shrink circle-right circle-left file-text2 info cart
1
2
3
4
5
6
7
8
9
10
11
12
13
14
15
16
17
Изображение Артикул товара Наименование Наличие Единица измерения Количество Цена Корзина
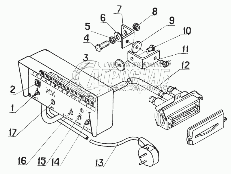
1
Микротумблер (ПИТ включение питания) Микротумблер (ПИТ включение питания) Под заказ -
2
Световой индикатор (включение питания) Световой индикатор (включение питания) Под заказ -
3
Световые индикаторы (ОТКАЗ«1...12»УРОВ.С) Световые индикаторы (ОТКАЗ«1...12»УРОВ.С) Под заказ -
4
Болт М8-6gх20.58.019 ГОСТ 7796-70 Болт М8-6gх20.58.019 ГОСТ 7796-70 Под заказ -
5
Шайба 8 65Г 019 ГОСТ 6402-70 Шайба 8 65Г 019 ГОСТ 6402-70 Под заказ шт 0 ₽
6
Шайба С.8х1,4.01.10.019 ГОСТ 11371-78 Шайба С.8х1,4.01.10.019 ГОСТ 11371-78 Под заказ -
7
158.111.019 Уголок Под заказ -
8
Гайка М8-6Н.6.019 ГОСТ 5915-70 Гайка М8-6Н.6.019 ГОСТ 5915-70 Под заказ -
9
158.947.131 Шайба резиновая Под заказ -
10
158.920.400 Болт Под заказ -
11
158.111.018 Уголок Под заказ -
12
Кабель (с розеткой РШАТКП-0-3) Кабель (с розеткой РШАТКП-0-3) Под заказ -
13
Кабель с вилкой (для подключения к электрической сети трактора) Кабель с вилкой (для подключения к электрической сети трактора) Под заказ -
14
Регулятор (времени задержки включения сигнализации РЕГУЛ.) Регулятор (времени задержки включения сигнализации РЕГУЛ.) Под заказ -
15
Кнопка (ПРОБ, включения режима «Проверка») Кнопка (ПРОБ, включения режима «Проверка») Под заказ -
16
Микротумблер (БЛОКИР. включения режима «Блокировка») Микротумблер (БЛОКИР. включения режима «Блокировка») Под заказ -
17
Держатель предохранителя 250V/4А ОН 0477793-83 Держатель предохранителя 250V/4А ОН 0477793-83 Под заказ -
Содержащиеся в справочниках-каталогах запасные части и детали не предлагаются к продаже, а носят исключительно информационный характер


Наши преимущества