Каталог запасных частей к технике: Красная Звезда СПС-4,2А. Рассредоточитель СПС19000

Рассредоточитель СПС19000

zoom-in zoom-out enlarge shrink circle-right circle-left file-text2 info cart
1
2
3
4
5
6
7
8
9
10
11
Изображение Артикул товара Наименование Наличие Единица измерения Количество Цена Корзина
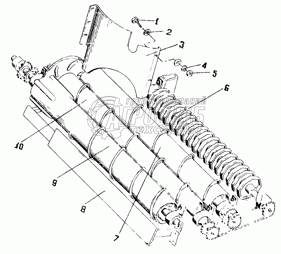
1
СПС19000 Рассредоточитель Под заказ -
2
[Болт М8-6gх20.58.019 ГОСТ7796-70] Болт М8-6gх20.58.019 ГОСТ7796-70 Под заказ -
3
[Шайба 08х1,4.02.019 ГОСТ11371-78] Шайба 08х1,4.02.019 ГОСТ11371-78 Под заказ -
4
СПС19409 Отсекатель Под заказ -
5
[Шайба 8.65Г.05 ГОСТ6402-70] Шайба 8.65Г.05 ГОСТ6402-70 Под заказ -
6
[Гайка М8-6Н.6.019 ГОСТ5915-70] Гайка М8-6Н.6.019 ГОСТ5915-70 Под заказ -
7
СПС19240 Битер Под заказ -
8
СПС19090 Шнек Под заказ -
9
СПС19270 Отражатель Под заказ -
10
СПС19110 Перебрасыватель Под заказ -
11
СПС19100 Шнек Под заказ -
Содержащиеся в справочниках-каталогах запасные части и детали не предлагаются к продаже, а носят исключительно информационный характер


Наши преимущества