| № | Изображение | Артикул товара | Наименование | Наличие | Единица измерения | Количество | Цена | Корзина | |
|---|---|---|---|---|---|---|---|---|---|
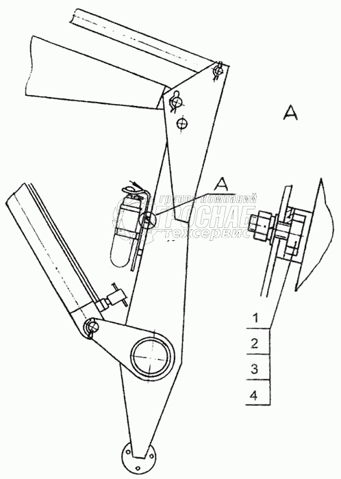
| 1 | ПС 00.601 | Болт специальный | Под заказ | - | |||||
| 2 | Гайка М6-6Н.6.019 {ГОСТ 5915-70} | Гайка М6-6Н.6.019 {ГОСТ 5915-70} | Под заказ | - | |||||
| 3 | Шайба 6.65Г019 {ГОСТ 6402-80} | Шайба 6.65Г019 {ГОСТ 6402-80} | Под заказ | - | |||||
| 4 | Шайба 6.01.10.019 {ГОСТ 11371-78} | Шайба 6.01.10.019 {ГОСТ 11371-78} | Под заказ | - |