Каталог запасных частей к технике: Клевер КПП-3,1. Брус с приводом

Брус с приводом

zoom-in zoom-out enlarge shrink circle-right circle-left file-text2 info cart
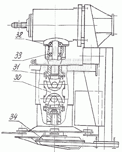
1
2
3
4
5
6
Изображение Артикул товара Наименование Наличие Единица измерения Количество Цена Корзина
1
КПП-3,1.01.01000 Брус с приводом Под заказ -
2
51520-23.08.024 Шарнир сдвоенный Под заказ -
3
КПП-3,1.01.01.607 Полумуфта Под заказ -
4
Подшипник 209 Подшипник 209 Под заказ -
5
Подшипник 211 Подшипник 211 Под заказ -
6
КПП-3,1.01.01.010 Брус режущий Под заказ -
Содержащиеся в справочниках-каталогах запасные части и детали не предлагаются к продаже, а носят исключительно информационный характер


Наши преимущества