| № | Изображение | Артикул товара | Наименование | Наличие | Единица измерения | Количество | Цена | Корзина | |
|---|---|---|---|---|---|---|---|---|---|
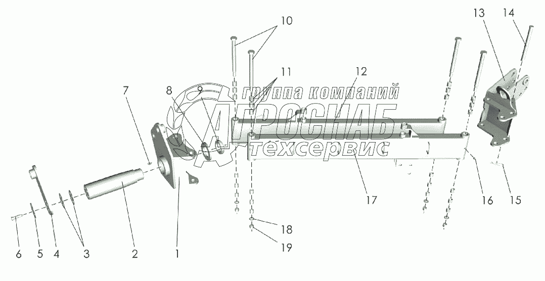
| 1 | КДК-184.02.01.070 | Голова поворотная | Под заказ | - | |||||
| 2 | КДК-184.02.01.601 | Ось | Под заказ | - | |||||
| 3 | КДК-184.00.00.402 | Шайба | Под заказ | - | |||||
| 4 | КДК-184.00.00.090 | Стойка | Под заказ | - | |||||
| 5 | КДК-184.00.00.403 | Шайба | Под заказ | - | |||||
| 6 | [Болт М12х1,25-6gх40.109.40Х.019 ГОСТ7817-80] | Болт М12х1,25-6gх40.109.40Х.019 ГОСТ7817-80 | Под заказ | - | |||||
| 7 | [Шпонка 6х10 ГОСТ24071-97] | Шпонка 6х10 ГОСТ24071-97 | Под заказ | - | |||||
| 8 | КДК-184.02.01.412 | Шайба | Под заказ | - | |||||
| 9 | [Гайка с нейлоновым кольцом М60х2 DIN981] | Гайка с нейлоновым кольцом М60х2 DIN981 | Под заказ | - | |||||
| 10 | КДК-184.02.01.603 | Болт | Под заказ | - | |||||
| 11 | 2025KU | Втулка ГОСТ28773-90 | Под заказ | - | |||||
| 12 | КДК-184.02.01.050 | Тяга | Под заказ | - | |||||
| 13 | КДК-184.02.01.110 | Кронштейн | Под заказ | - | |||||
| 14 | [Ось 6-20b12х210.35.Ц9хр ГОСТ9650-80] | Ось 6-20b12х210.35.Ц9хр ГОСТ9650-80 | Под заказ | - | |||||
| 15 | 2.5,0х90.019 ОСТ23.2.2-79 | Шплинт | Под заказ | - | |||||
| 16 | [Масленка 1.2.Ц6хр ГОСТ19853-74] | Масленка 1.2.Ц6хр ГОСТ19853-74 | Под заказ | - | |||||
| 17 | КДК-184.02.01.040 | Тяга | Под заказ | - | |||||
| 18 | [Шайба С16.01.019 ГОСТ11371-78] | Шайба С16.01.019 ГОСТ11371-78 | Под заказ | - | |||||
| 19 | [Гайка М16-6Н.5.016 ТУ23.4617472.08-92] | Гайка М16-6Н.5.016 ТУ23.4617472.08-92 | Под заказ | - |