Каталог запасных частей к технике: Клевер КДК-184. Сница и поворотная голова

Сница и поворотная голова

zoom-in zoom-out enlarge shrink circle-right circle-left file-text2 info cart
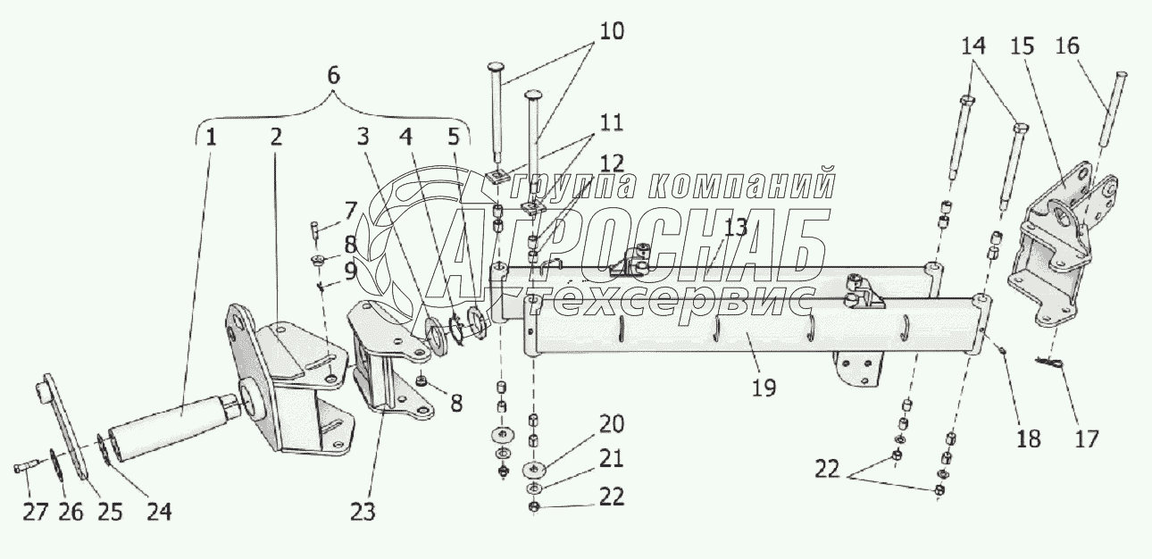
1
2
3
4
5
6
7
8
9
10
11
12
13
14
15
16
17
18
19
20
21
22
23
23
24
25
26
27
28
Изображение Артикул товара Наименование Наличие Единица измерения Количество Цена Корзина
1
КДК-184.01.00.621 Ось Под заказ -
2
КДК-184.01.00.120Б Голова поворотная Под заказ -
3
КДК-184.01.00.412 Шайба Под заказ -
4
60.01.019 Шайба Под заказ -
5
Гайка М60х2.6Н.019 Гайка Под заказ -
6
М60х2 Гайка Под заказ -
7
КДК-184.01.00.110Б Голова поворотная Под заказ -
8
6-10b12х32.35.Ц9хр Ось Под заказ -
9
КДК-184.00.00.621 Втулка резьбовая Под заказ -
10
3,2х20.019 Шплинт Под заказ -
11
КДК-184.00.00.609 Болт Под заказ -
12
КДК-184.00.00.417 Шайба Под заказ -
13
MU TFP 20х23х25 Втулка Под заказ -
14
КДК-184.02.01.050А Тяга Под заказ -
15
КДК-181.02.01.603 Болт Под заказ -
16
КДК-184.02.01.110Б Кронштейн Под заказ -
17
6-20b12х210.35.Ц9хр Ось Под заказ -
18
2.5,0х90.019 Шплинт пружинный ОСТ 23.2.2-79 Под заказ -
19
1.2.Ц6хр Масленка Под заказ -
20
КДК-184.02.01.040А Тяга Под заказ -
21
КДК-184.00.00.404 Шайба Под заказ -
22
КДК-184.00.00.408 Шайба Под заказ -
23
М16 Гайка Под заказ шт 7 ₽7 ₽
24
КДК-184.00.00.150А Короб Под заказ -
25
КДК-184.01.00.402 Шайба Под заказ -
26
КДК-184.01.00.190 Стойка Под заказ -
27
КДК-184.01.00.403 Шайба Под заказ -
28
М12х1,25-6gх40.109.40Х.019 Болт Под заказ -
Содержащиеся в справочниках-каталогах запасные части и детали не предлагаются к продаже, а носят исключительно информационный характер


Наши преимущества