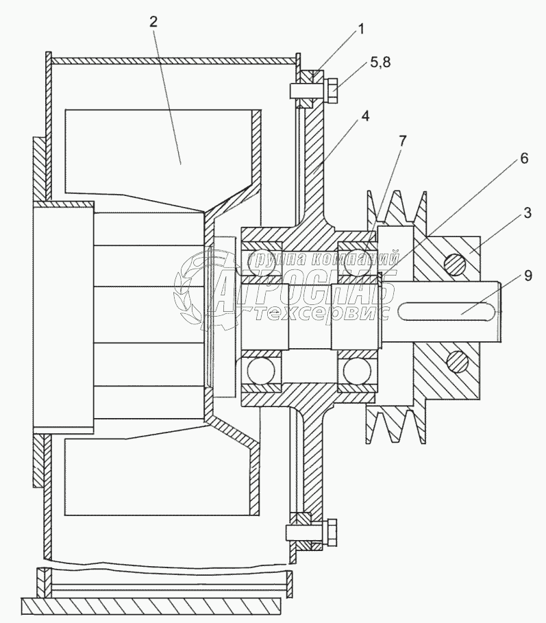
Каталог запасных частей к технике: Гомсельмаш УЭС-2-280А. Вентилятор УЭС-7-0170000

Вентилятор УЭС-7-0170000

zoom-in zoom-out enlarge shrink circle-right circle-left file-text2 info cart
1
2
3
4
5
6
7
8
9
10
Изображение Артикул товара Наименование Наличие Единица измерения Количество Цена Корзина
1
УЭС-7-0170000 Вентилятор Под заказ -
2
УЭС-7-0170020-01 Кожух Под заказ -
3
УЭС-7-0170030 Вентилятор Под заказ -
4
УЭС-7-0170070 Шкив Под заказ -
5
УЭС-7-0170101 Крышка Под заказ -
6
Болт Болт Под заказ -
7
Кольцо Кольцо Под заказ -
8
Подшипник Подшипник Под заказ -
9
Шайба Шайба Под заказ -
10
Шпонка Шпонка Под заказ -
Содержащиеся в справочниках-каталогах запасные части и детали не предлагаются к продаже, а носят исключительно информационный характер


Наши преимущества