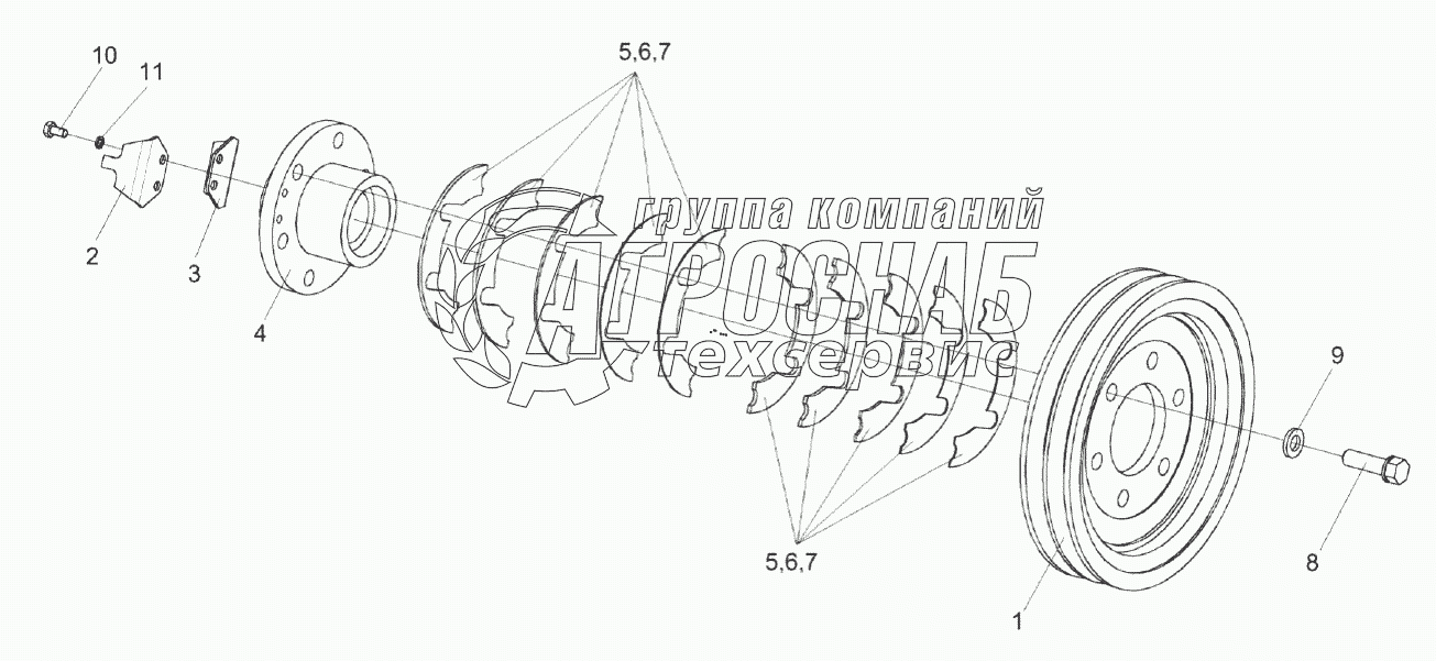
Каталог запасных частей к технике: Гомсельмаш КЗС-1624-1. Шкив КЗК-16-1-0290090

Шкив КЗК-16-1-0290090

zoom-in zoom-out enlarge shrink circle-right circle-left file-text2 info cart
2
3
4
5
6
6
7
7
8
8
9
10
11
12
Изображение Артикул товара Наименование Наличие Единица измерения Количество Цена Корзина
1
КЗК-16-1-0290090 Шкив Под заказ -
2
КЗК-16-1-0290101 Шкив Под заказ -
3
КЗК-12-0290489 Уголок Под заказ -
4
КЗК-12-0290491 Уголок Под заказ -
5
КЗК-12-0290625 Ступица Под заказ шт 11 153 ₽11 153 ₽
6
КЗК0290461 Прокладка Под заказ -
7
КЗК0290461-01 Прокладка Под заказ -
8
КЗК0290461-02 Прокладка Под заказ -
9
КЗР0202608Б-01 Болт Под заказ -
10
УЭС0100607 Шайба Под заказ -
11
БолтМ6-6eх12-7798 Болт М6-6eх12-7798 Под заказ -
12
Шайба6Т.65Г-6402 Шайба 6Т.65Г-6402 Под заказ -
Содержащиеся в справочниках-каталогах запасные части и детали не предлагаются к продаже, а носят исключительно информационный характер


Наши преимущества