Каталог запасных частей к технике: Гомсельмаш КЗС-1218А-1. Установка шкива КЗК-12-0202810

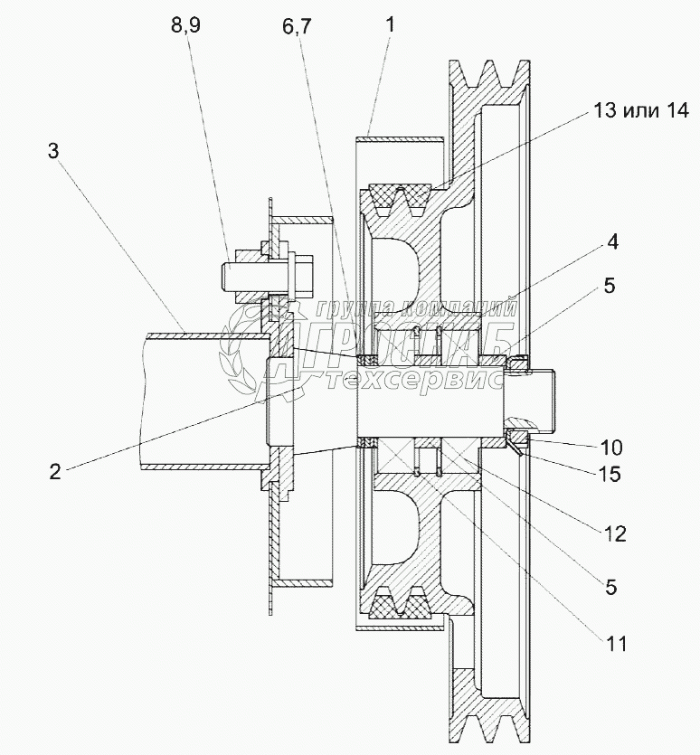
Установка шкива КЗК-12-0202810

zoom-in zoom-out enlarge shrink circle-right circle-left file-text2 info cart
3
4
5
6
7
7
8
9
10
11
12
13
14
15
16
17
16
17
16
17
18
Изображение Артикул товара Наименование Наличие Единица измерения Количество Цена Корзина
1
КЗК-12-0202810 Шкив Под заказ шт 34 280 ₽34 280 ₽
2
КЗК-12А-1-0202000 Очистка Под заказ -
3
КЗК-12-0202980А Кожух В наличии шт 4 446 ₽4 446 ₽
4
КЗК0202790Б Ось Под заказ -
5
КЗК-10-0202270А-01 Труба Под заказ -
6
КЗК-12-0202115 Шкив Под заказ шт 15 386 ₽15 386 ₽
6
КЗК-12-0202115 Шкив В наличии шт 26 030 ₽26 030 ₽
7
КЗК0202818 Втулка Под заказ -
8
КИС0124404 Шайба Под заказ -
9
КИС0143401 Шайба Под заказ -
10
КСН0100636-02 Шайба Под заказ -
11
БолтМ16-6eх40-7798 Болт М16-6eх40-7798 Под заказ -
12
ГайкаМ36х1,5-6Н-11871 Гайка М36х1,5-6Н-11871 Под заказ -
13
КольцоВ80-13943 Кольцо В80-13943 Под заказ -
14
180508-8882 Подшипник 180508-8882 Под заказ -
15
Ремень2HB4812La Ремень 2 HB 4812 La Под заказ -
16
Ремень2HBBP4812K Ремень 2 HB BP 4812 K Под заказ -
17
Ремень2HBBP4812K Ремень 2 HB BP 4812 K Под заказ -
18
ШайбаН.36.01-11872 Шайба Н.36.01-11872 Под заказ -
Содержащиеся в справочниках-каталогах запасные части и детали не предлагаются к продаже, а носят исключительно информационный характер


Наши преимущества