Каталог запасных частей к технике: Гомсельмаш КЗР-10. Кожух сдвоенный (КЗР0217100Б)

Кожух сдвоенный (КЗР0217100Б)

zoom-in zoom-out enlarge shrink circle-right circle-left file-text2 info cart
1
2
3
4
5
6
7
8
9
10
11
12
13
14
15
16
17
18
19
19
19
20
21
21
21
22
22
23
23
23
24
24
Изображение Артикул товара Наименование Наличие Единица измерения Количество Цена Корзина
1
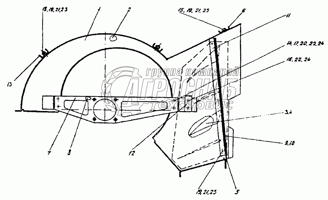
КЗР0217110Б Кожух Под заказ -
2
КЗР0217120Б Кожух Под заказ -
3
КЗР0217150Б Кассета Под заказ -
4
КЗР0217150Б-01 Кассета Под заказ -
5
КЗР0217001В Пластина Под заказ -
6
КЗР0217433Б Жесткость Под заказ -
7
КЗР0217446 Кронштейн Под заказ -
8
КЗР0217446-01 Кронштейн Под заказ -
9
КЗР0217451В Уголок Под заказ -
10
КЗР0217451В-01 Уголок Под заказ -
11
КЗР0217453В Пластина Под заказ -
12
КЗР0217501Б Лапка Под заказ -
13
КЗР0217502А Лапка Под заказ -
14
КЗР0217702А Швеллер Под заказ -
15
[Болт М8-6gх20-7796] Болт М8-6gх20-7796 Под заказ -
16
[Болт М10-6gх16-7796] Болт М10-6gх16-7796 Под заказ -
17
[Болт М10-6gх20-7796] Болт М10-6gх20-7796 Под заказ -
18
[Болт М8-6gх20-7802] Болт М8-6gх20-7802 Под заказ -
19
[Гайка М8-6g-5915] Гайка М8-6g-5915 Под заказ -
20
[Гайка М10-6g-5915] Гайка М10-6g-5915 Под заказ -
21
[Шайба 8.65Г-6402] Шайба 8.65Г-6402 Под заказ -
22
[Шайба 10.65Г-6402] Шайба 10.65Г-6402 Под заказ -
23
[Шайба 8.01-11371] Шайба 8.01-11371 Под заказ -
24
[Шайба 10.01-11371] Шайба 10.01-11371 Под заказ -
Содержащиеся в справочниках-каталогах запасные части и детали не предлагаются к продаже, а носят исключительно информационный характер


Наши преимущества