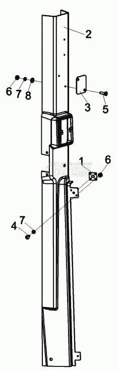
Каталог запасных частей к технике: Гомсельмаш КВК-6025. Облицовка стойки КСК-6025-0120060

Облицовка стойки КСК-6025-0120060

zoom-in zoom-out enlarge shrink circle-right circle-left file-text2 info cart
2
3
4
5
6
7
7
8
8
9
Изображение Артикул товара Наименование Наличие Единица измерения Количество Цена Корзина
1
КСК-6025-0120060 Облицовка стойки Под заказ -
2
КЗК-12-0120490 Вставка Под заказ -
3
КСК-6025-0120002 Облицовка стойки Под заказ -
4
КСК-6025-0120403 Платик Под заказ -
5
ВинтВ.М4-6еx12-17473 Винт В.М4-6ех12-17473 Под заказ -
6
ВинтВ2.М4-6еx14-17475 Винт В2.М4-6ех14-17475 Под заказ -
7
ГайкаМ4-6g-5927 Гайка М4-6g-5927 Под заказ -
8
Шайба4.65Г-6402 Шайба 4.65Г-6402 Под заказ -
9
ШайбаС.4.01-11371 Шайба С.4.01-11371 Под заказ -
Содержащиеся в справочниках-каталогах запасные части и детали не предлагаются к продаже, а носят исключительно информационный характер


Наши преимущества