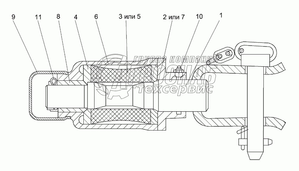
Каталог запасных частей к технике: Гомсельмаш КСК-600. Устройство прицепное КИС 0122000А

Устройство прицепное КИС 0122000А

zoom-in zoom-out enlarge shrink circle-right circle-left file-text2 info cart
1
2
3
4
5
6
7
8
9
10
11
12
Изображение Артикул товара Наименование Наличие Единица измерения Количество Цена Корзина
1
КИС 0122000А Устройство прицепное Под заказ -
2
КИС 0122010А Ось устройства прицепного Под заказ -
3
КИС 0122020 Кронштейн корпуса буксирного прибора Под заказ -
4
КИС 0122001 Буфер резиновый Под заказ -
5
КИС 0122403 Шайба упорная Под заказ -
6
52-2805025 Буфер резиновый буксирного прибора Под заказ -
7
52-2805031 Корпус буксирного прибора Под заказ -
8
52-2805035-А Кронштейн корпуса буксирного прибора Под заказ -
9
52-2805039-А Гайка упорная буксирного прибора Под заказ -
10
52-2805050 Колпак корпуса буксирного прибора Под заказ -
11
Масленка 1.2-19853 Масленка 1.2-19853 Под заказ -
12
Шплинт 6,3х50-397 Шплинт 6,3х50-397 Под заказ -
Содержащиеся в справочниках-каталогах запасные части и детали не предлагаются к продаже, а носят исключительно информационный характер


Наши преимущества