Каталог запасных частей к технике: Гомсельмаш КСК-600. Ролик КПП 0208000

Ролик КПП 0208000

zoom-in zoom-out enlarge shrink circle-right circle-left file-text2 info cart
1
2
3
4
5
6
7
8
9
10
11
Изображение Артикул товара Наименование Наличие Единица измерения Количество Цена Корзина
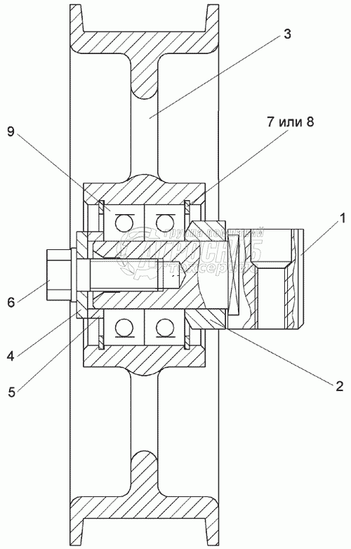
1
КПП 0208000 Ролик Под заказ -
2
КПР 6106010-01 Ролик Под заказ -
3
КПП 0208601 Ось Под заказ -
4
КПП 0208602 Втулка Под заказ -
5
КПР 6106001 Ролик Под заказ -
6
КЗР 0202682 Шайба Под заказ -
7
КЗР 0202825-07 Втулка Под заказ -
8
КПТ 0100612А-01 Болт Под заказ -
9
Кольцо В52 – 13941 Кольцо В52 – 13941 Под заказ -
10
Кольцо В52 – 13943 Кольцо В52 – 13943 Под заказ -
11
Подшипник 180205С17 – 8882 Подшипник 180205С17 – 8882 Под заказ -
Содержащиеся в справочниках-каталогах запасные части и детали не предлагаются к продаже, а носят исключительно информационный характер


Наши преимущества