Каталог запасных частей к технике: Гомсельмаш КСК-600. Корпус КИС 0600040

Корпус КИС 0600040

zoom-in zoom-out enlarge shrink circle-right circle-left file-text2 info cart
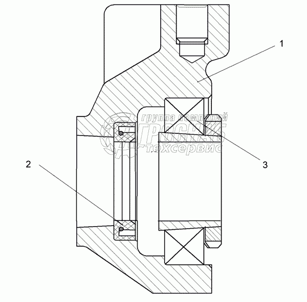
1
2
3
4
Изображение Артикул товара Наименование Наличие Единица измерения Количество Цена Корзина
1
КИС 0600040 Корпус Под заказ -
2
КИС 0600104 Корпус Под заказ -
3
Манжета 2.2-40х60 – 8752 Манжета 2.2-40х60 – 8752 Под заказ -
4
Подшипник 11208 – 28428 Подшипник 11208 – 28428 Под заказ -
Содержащиеся в справочниках-каталогах запасные части и детали не предлагаются к продаже, а носят исключительно информационный характер


Наши преимущества