Каталог запасных частей к технике: Гомсельмаш КСК-600. Дифференциал КИЛ 0107160А

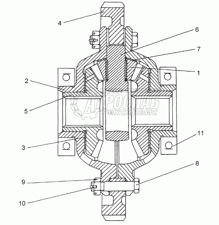
Дифференциал КИЛ 0107160А

zoom-in zoom-out enlarge shrink circle-right circle-left file-text2 info cart
1
2
3
4
5
6
7
8
9
10
11
12
Изображение Артикул товара Наименование Наличие Единица измерения Количество Цена Корзина
1
КИЛ 0107160А Дифференциал Под заказ шт 21 671 ₽21 671 ₽
2
130-2403054 Сателлит дифференциала заднего моста Под заказ -
3
КИЛ 0107225 Чашка дифференциала Под заказ -
4
КИЛ 0107446 Шайба опорная Под заказ -
5
КИЛ 0107629 Крестовина Под заказ -
6
КИЛ 0107683 Шестерня полуоси Под заказ -
7
КИЛ 0107684 Шестерня Под заказ шт 0 ₽
8
150В-2403058 Шайба опорная сателлита дифференциала Под заказ -
9
60702А Болт Под заказ -
10
Гайка М14х1,5-6G-5919 Гайка М14х1,5-6G-5919 Под заказ -
11
Шплинт 3,2х25-397 Шплинт 3,2х25-397 Под заказ -
12
Подшипник 215-8338 Подшипник 215-8338 Под заказ -
Содержащиеся в справочниках-каталогах запасные части и детали не предлагаются к продаже, а носят исключительно информационный характер


Наши преимущества