| № | Изображение | Артикул товара | Наименование | Наличие | Единица измерения | Количество | Цена | Корзина | |
|---|---|---|---|---|---|---|---|---|---|
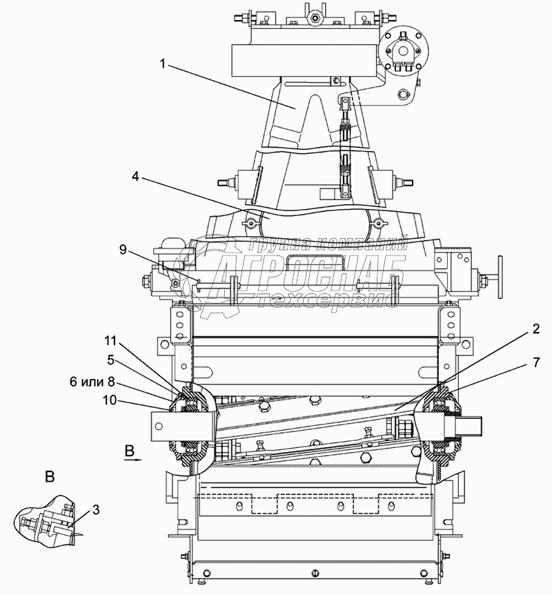
| 1 | КГС 0150010 | Аппарат измельчающий | Под заказ | - | |||||
| 2 | КГС 0150040 | Основание силосопровода | Под заказ | шт | 164 004 ₽164 004 ₽ | ||||
| 3 | КГС 0150070 | Барабан | Под заказ | - | |||||
| 4 | КИС 0103420А-01 | Прижим | Под заказ | шт | 1 400 ₽1 400 ₽ | ||||
| 5 | КИС 0150360 | Крышка | Под заказ | шт | 512 ₽512 ₽ | ||||
| 6 | КИС 0150001 | Прокладка | Под заказ | - | |||||
| 7 | КИС 0150003 | Крышка подшипника | Под заказ | шт | 2 898 ₽2 898 ₽ | ||||
| 8 | КИС 0150104А | Корпус подшипника | Под заказ | шт | 2 117 ₽2 117 ₽ | ||||
| 9 | КИС 0150105А | Крышка подшипника | Под заказ | - | |||||
| 10 | Шплинт 3,2Х25.019 - 397 | Шплинт 3,2Х25.019 - 397 | Под заказ | - | |||||
| 11 | Манжета 2.2-80Х105-1-8752 | Манжета 2.2-80Х105-1-8752 | Под заказ | - | |||||
| 12 | Подшипник 11216 - 28428 | Подшипник 11216 - 28428 | Под заказ | - |