Каталог запасных частей к технике: Бобруйскагромаш ПС-60. Система тормозная

Система тормозная

zoom-in zoom-out enlarge shrink circle-right circle-left file-text2 info cart
1
1
1
1
2
2
3
3
3
3
3
3
4
4
5
6
7
8
8
9
9
11
11
12
12
13
13
14
14
15
15
15
15
15
15
16
16
16
16
16
16
17
18
19
20
21
21
21
22
23
25
26
27
27
27
27
28
28
29
30
31
31
31
31
31
31
32
32
32
32
32
32
32
32
32
33
34
35
36
37
37
38
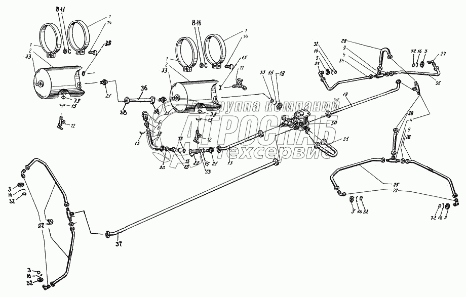
Изображение Артикул товара Наименование Наличие Единица измерения Количество Цена Корзина
1
086СТ00-00.501 Стремянка Под заказ -
2
105.069.17.000-02 ТУ 3.7.086.024-91 Ресивер Под заказ -
3
ПРТ7.06.04.602 Гайка Под заказ -
4
ПРТ0.13.603 Тройник Под заказ -
5
105.069.50.000 ТУ 23.118.343-93 Головка соединительная В Под заказ -
6
ПРТ10.13.618 Переходник Под заказ -
7
105.069.46.000-03 ТУ 23.7.086.025-91 Шланг Под заказ -
8
М8 ГОСТ5915-70 Гайка Под заказ -
9
М18х1,5 ГОСТ5915-70 Гайка Под заказ -
10
ПРТ10.13.617 Штуцер проходной Под заказ -
11
8.65Г ГОСТ6402-70 Шайба Под заказ -
12
105.069.03.000 У1 Клапан слива конденсата Под заказ -
13
ПС-60.01.04.010 Трубопровод Под заказ -
14
М8х50 ГОСТ7796-70 Болт Под заказ -
15
086СТ-509 Шайба Под заказ -
16
086СТ-509-01 Шайба Под заказ -
17
105.069.05.000 ТУ 23.7.086.015-90 Клапан контрольного вывода Под заказ -
18
М22х1,5 ГОСТ5915-70 Гайка Под заказ -
19
ПС-45.01.04.030 Трубопровод Под заказ -
20
М20х1,5 ГОСТ5916-70 Гайка Под заказ -
21
086СТ00-00-603 Штуцер Под заказ -
22
105.069.04.000 ТУ 23.7.086.014-90 Фильтр магистральный Под заказ -
23
МТТФ19.27.00.603 Штуцер Под заказ -
24
ПС-45.01.02.020 Вал ведомый Под заказ -
25
ПС-60.01.04.040-01 Трубопровод Под заказ -
26
МТТ9.06.02.000-01 Трубопровод Под заказ -
27
ПРТ7.06.04.000 Угольник ввертной Под заказ -
28
15.069.41.000-01 У1 ТУ 23.7.086.025-91 Шланг Под заказ -
29
105.069.02.000-11 ТУ 23.7.086.013-91 Воздухораспределитель Под заказ -
30
МТТФ19.27.25.000 Трубопровод Под заказ -
31
013-016-19 ГОСТ 18829-73 Кольцо Под заказ -
32
020-025-30 ГОСТ 18829-73 Кольцо Под заказ -
33
ПС-60.01.04.040 Трубопровод Под заказ -
34
МТТ9.06.02.000 Трубопровод Под заказ -
35
ПС-60.01.04.807 Трубка Под заказ -
36
ПС-60.01.04.020 Трубопровод Под заказ -
37
105.069.00.072-01 Гайка накидная Под заказ -
38
ПРТ-16.06.040 Трубка тормозной камеры подкатной тележки Под заказ -
Содержащиеся в справочниках-каталогах запасные части и детали не предлагаются к продаже, а носят исключительно информационный характер


Наши преимущества