Каталог запасных частей к технике: Бобруйскагромаш ИРК-145. Опора регулируемая

Опора регулируемая

zoom-in zoom-out enlarge shrink circle-right circle-left file-text2 info cart
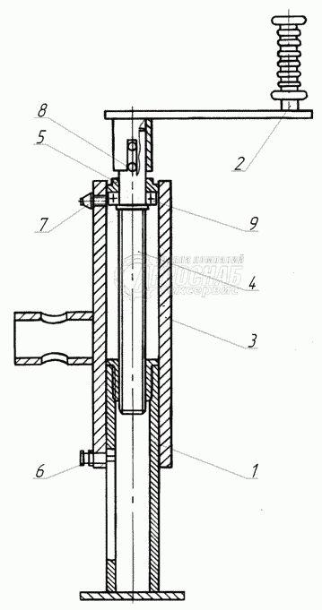
1
2
3
4
5
6
7
8
9
Изображение Артикул товара Наименование Наличие Единица измерения Количество Цена Корзина
1
ПСТ-9.01.11.010 Шток Под заказ -
2
ПСТ-9.01.11.070 Рукоятка Под заказ -
3
ПСТ-9.01.11.060 Стакан Под заказ -
4
ПСТ-9.01.11.602 Винт Под заказ -
5
ПСТ-9.01.11.604 Гайка Под заказ -
6
ПСТ-9.01.11.606 Фиксатор Под заказ -
7
1.2.Ц6 Масленка Под заказ -
8
10х50.65Г Штифт ГОСТ 14229-78 Под заказ -
9
8206 Подшипник ГОСТ 7872-89 Под заказ -
Содержащиеся в справочниках-каталогах запасные части и детали не предлагаются к продаже, а носят исключительно информационный характер


Наши преимущества