| № | Изображение | Артикул товара | Наименование | Наличие | Единица измерения | Количество | Цена | Корзина | |
|---|---|---|---|---|---|---|---|---|---|
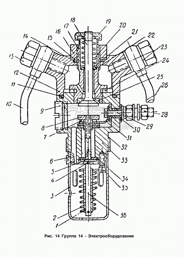
| 1 | 14-1540 | Планка зажима | Под заказ | - | |||||
| 2 | БНП-М8Х25 | Болт | Под заказ | - | |||||
| 3 | СМД14-14С18А | Электрофакельный подогреватель | Под заказ | - | |||||
| 4 | 14-1567 | Прокладка | Под заказ | - | |||||
| 5 | СМД1-1458 | Втулка изоляционная | Под заказ | - | |||||
| 6 | СМД1-1457 | Спираль накаливания | Под заказ | - | |||||
| 7 | СМД14-1459 | Чашечка | Под заказ | - | |||||
| 8 | Ш-1Х6 | Шплинт | Под заказ | - | |||||
| 9 | ШШ-3 | Шайба | Под заказ | - | |||||
| 10 | В-М8Х6 | Винт | Под заказ | - | |||||
| 11 | ШПН-5 | Шайба пружинная | Под заказ | - | |||||
| 12 | 14-1494 | Гайка спираледержателя | Под заказ | - | |||||
| 13 | СМД55-1418 | Упор | Под заказ | - | |||||
| 14 | СМД14-14С27 | Трубка подвода топлива в сборе | Под заказ | - | |||||
| 15 | СМД14-1417 | Кольцо уплотнительное | Под заказ | - | |||||
| 16 | СМД14-1448-1А | Крышка | Под заказ | - | |||||
| 17 | СМД7-1590 | Болт зажимной | Под заказ | - | |||||
| 18 | 14-1495 | Кольцо уплотнительное | Под заказ | - | |||||
| 19 | 14-1496 | Шайба | Под заказ | - | |||||
| 20 | 14-1498А | Гайка | Под заказ | - | |||||
| 21 | 14-1402-2 | Корпус клапана | Под заказ | - | |||||
| 22 | СМД14-1462-1 | Клапан | Под заказ | - | |||||
| 23 | 14-1410-2 | Колпачок | Под заказ | - | |||||
| 24 | СМД14-1455 | Пружина | Под заказ | - | |||||
| 25 | СМД14-1404 | Шайба | Под заказ | - | |||||
| 26 | СМД14-1463 | Шайба клапана | Под заказ | - | |||||
| 27 | СМД7-1591 | Прокладка | Под заказ | - | |||||
| 28 | 14-1497 | Шайба | Под заказ | - | |||||
| 29 | 14-1430 | Седло клапана | Под заказ | - | |||||
| 30 | СМД14-14С26 | Трубка отвода топлива в сборе | Под заказ | - | |||||
| 31 | ШШ1-5 | Шайба | Под заказ | - | |||||
| 32 | ГУ-М5 | Гайка | Под заказ | - | |||||
| 33 | СМД14-1425 | Болт контактный | Под заказ | - | |||||
| 34 | СМД14-1416 | Трубка изоляционная | Под заказ | - | |||||
| 35 | СМД14-1413А | Пластина | Под заказ | - | |||||
| 36 | 14-1414А | Шайба | Под заказ | - | |||||
| 37 | СМД14-1442 | Корпус подогревателя | Под заказ | - | |||||
| 38 | 14-1493 | Шайба | Под заказ | - | |||||
| 39 | СМД14-1454 | Контакт | Под заказ | - | |||||
| 40 | СМД14-1456 | Стержень спираледержателя | Под заказ | - |